氢脆HE:TDS氢含量测试前,“拉伸试样”断口部位切取
2025-05-13 17:26:05 作者:考拉腐蚀 来源:考拉腐蚀 分享至:

 

 

【1】ISO 16573:2015 Steel- Measurement method for the evaluation of hydrogen embirttlement resistance of high strenth steels
ISO 16573:2015中推荐的试样尺寸,下图。直径D=10mm的试样为标准试样。根据实际情况,小尺寸试样(如,D=5mm),r/D=0.02等试样也可选用。
其中,a是缺口试样,b为光滑试样。

其中,黑色阴影部分是切取用于氢含量分析部位。
【2】GB/T 39039-2020 高强钢氢致延迟断裂评价方法(Evaluation method for hydogen-induced fracture of high strength steels)
取样部位按照GB/T 2975,推荐采用光滑试样、缺口试样、板状试样。试样几何尺寸如代表。建议采用直径10mm圆棒或厚度2mm的板状试样。

其中,黑色阴影部分是切取用于氢含量分析部位。
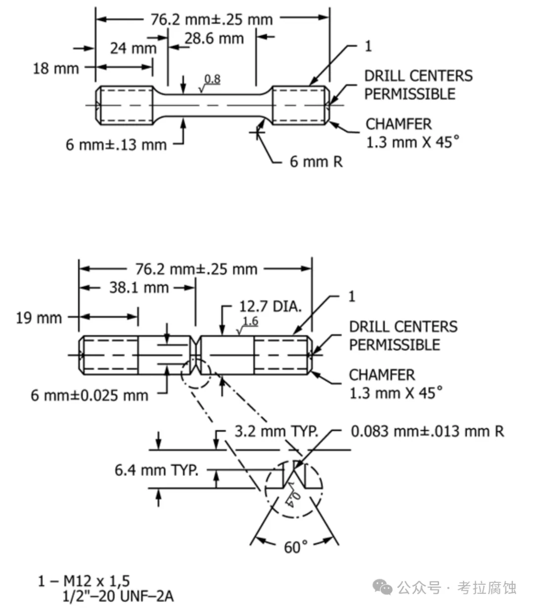
【3】ASTM G142 Standard test methof for determination of susceptibility of metals to embrittlement in hydrogen containing environments at High pressure, High temperature, or Both中给出的标准光滑试样和标准缺口试样。

【4】GB/T 34542.2 氢气储存输送系统 第2部分:金属材料与氢环境相容性试验方法,中给出的标准带缺口圆棒试样。

 

免责声明:本网站所转载的文字、图片与视频资料版权归原创作者所有,如果涉及侵权,请第一时间联系本网删除。

    标签:
相关文章
无相关信息