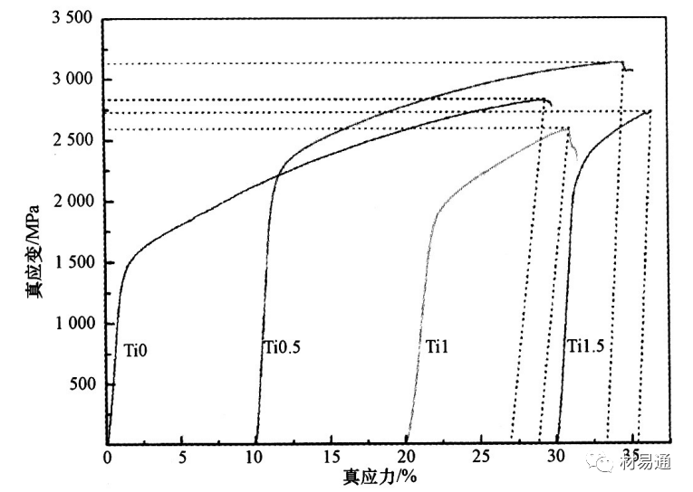
传统合金:以1~2种金属为主,并通过添加特定的少量其他元素,采用不同工艺来获得不同性能的合金。由于传统合金中合金成分的自由度较低 ,根据吉布斯相律,增加组成合金的金属种类,合金内部会析出大量结构复杂的脆性金属间化合物或中间相,导致合金性能恶化,给材料的组织、成分分析带来极大的困难,从而使得材料中的特殊微观结构消失以及力学性能受到限制。高熵合金的出现打破了传统合金以一种或两种金属元素为主的设计理念。 高熵合金的定义: 高熵合金(High-Entropy Alloys)简称HEAs。是一类具有优异性能的新型材料,以其优异的力学性能、耐腐蚀性能、优异的热稳定性等特点受到科学界广泛关注。高熵合金的“高熵”是指的是在原子尺度上的化学无序或者拓扑无序,即合金的原子排列混乱度高,处于一个无序状态。 高熵合金的发展历程如下: 德国科学家和冶金学家Franz Karl Achard在课题研究过程中,开展了一项创新性研究,他们制备了一系列包含5到7种元素的多组分合金。但不幸的是,这项意义非凡的工作几乎被世界各地的冶金学家所忽视。直到1963年,这项工作才被Cyril Stanley Smith教授(史密斯,1963年)注意到并进行了报道。由于科学家们对这项工作的忽视,导致了高熵合金发展的中断。 1993年,英国剑桥大学的科学家提出了著名的“混乱原理”,他认为合金材料的熵越高,越容易形成一种非晶态的结构。与此同时,台湾学者叶均蔚等人提出了新颖的合金设计思路,设计一种具有多个组元、高混合熵的合金,并为它命名为高熵合金。 直至2004年,英国的Cantor教授在熔炼一组髙混合熵的合金的时候发现,合金并没有形成预期的非晶态结构,反而出现了许多脆性的晶态相。实验结论无疑与“混合原理”是不相符的,反而对叶教授的设计理念进行了证实,这一惊奇的发现正式为高熵合金的诞生拉开了帷幕。针对这一有趣的现象,北京科技大学的张勇教授进行了理论解释,为高熵合金的发展提供了理论研究基础。至此,高熵合金逐渐开始成为合金材料界一颗耀眼的新星。 2014年美国劳伦斯伯克利国家实验室的罗伯特瑞奇(Robert Ritchie)与橡树林国家实验室的伊索乔治(Easo George)共同发现了一种由铁,锰,镍,钴和铬组成的合金,这种合金在越低的温度中(低至液氮温度-200℃)反而展现出更好的塑性(Bernd Gludovatz, et al. Science, 2014)。 随着高熵合金的发展,高熵合金的概念不断被完善;到目前为止,高熵合金的发展主要经历了3个阶段。从合金组成元素,相结构等角度出发,高熵合金的发展特点可以归纳如下: 1)第一代高熵合金:由5种或5种以上的合金元素组成,组成元素含量配比为等原子比,相结构为单一相的成分复杂合金; 2)第二代高熵合金:由4种或4种以上的合金元素组成,组成元素含量配比可为非等原子比,相结构为双相或多相的复杂固溶体合金; 3)高熵薄膜或陶瓷。 随着高熵合金在核聚变反应堆,喷气飞机引擎到基础化学等诸多应用中崭露头角,科学家们发现的是一个丰富的而且尚未开采的新材料宝藏,而研究工作只是刚刚开始。作为合金界的新秀,科学家们对高熵合金研究的热情与日俱增。短短的十几年时间,高熵合金的概念已经扩展到了高熵陶瓷,高熵薄膜,高熵钢,高熵高温合金,铝镁系高熵轻质合金,高熵硬质合金等。 高熵合金由于其独特的元素组成、排列及相互作用势场,产生一些和传统合金显著不同的特性。台湾学者叶均蔚将其归纳为 “四大效应”,即热力学上的高熵效应、结构上的晶格畸变效应、动力学上的迟滞扩散效应和性质上的“鸡尾酒”效应。 (1)高熵效应 热力学中,熵是用来表示系统混乱度的参数,根据玻尔兹曼熵与系统混乱度之间的公式,对于n种元素等摩尔比混合形成固溶体时,其摩尔组态熵△Sconf由下面的公式计算: k为玻尔兹曼常数, 其值为 1.38054x1023J/K;W为热力学概率;R为气体常数 ((8.314J/(K*mol))。由该公式可知,在等摩尔比多主元合金中,主元元素越多, 合金的摩尔混合熵越大,相应的等摩尔比合金中混合熵与组元数目n之间的关系如下图所示。在材料热力学中,组态熵只是其中一种,如果考虑原子振动、电子组态、磁矩组态等对熵的正贡献,多主元高熵合金的总熵值将会更大。 图1 混合熵随组元数目 n的变化曲线 根据吉布斯自由能△Gmix-△Hmix-T△Smix'混合焓与混合熵处于竞争状态,当温度高时,混合熵起主导作用,使得吉布斯自由能更低的固溶体相生成。此外,高熵效应可能对电负性差起到负向作用,可以抑制金属间化合物的生成,还可以使元素的混合更容易,更易形成简单固溶体相。 (2)晶格畸变效应 下图所示为传统固溶体合金及高熵合金中的原子占位对比图。传统固溶体合金中,溶质原子被溶剂原子约束,占据晶格位置。对于等原子比高熵合金,如果不考虑化学有序化,各组元原子将等概率占据晶格阵点。不同原子的半径大多数情况下是不同的,直径大的原子将推开它周围的原子,而直径较小的原子,它周围存在多余的空间,因此将导致严重的晶格畸变。这种原子位置上的可变性使高熵合金具有更大的组态熵,也使其处于连续的晶格畸变状态。 图2 固溶体合金中原子占位对比 (a)传统固溶体合金:(b)高熵合金 严重的晶格畸变使高熵合金在力、热、电、光乃至化学性能方面均有独特表现,如高的固溶强化、热阻和X射线漫散射(图3)等效应。针对 CuNiAICoCrFeSi合金体系,定量分析单组元至七组元合金的XRD衍射峰强度,发现合金衍射峰强度随主元数目的增加逐步降低,认为是由晶格畸变导致的。 图3 高熵合金晶格畸变效应对 XRD衍射的影响示意图 (a)正常晶格:(b)产生了晶格畸变的高熵合金晶格;(c)温度和晶格畸变对衍射峰强度的影响 (3)迟滞扩散效应 扩散型相变中,一个新相的形成需要许多原子的协同扩散,以完成元素的再分配。如前所述,高熵合金中的元素既可看作是溶质原子,也可看作是溶剂原子,接近等摩尔比的成分配比及各种原子的尺寸差异造成高熵合金中存在严重的晶格畸变,这导致高熵合金中的元素扩散通道及扩散激活能与传统合金大为不同。晶格阵点之间晶格势能的大幅度波动造成高熵合金中元素的扩散相对缓慢,大量低晶格势能阵点限制和阻碍了原子的扩散,即所谓的迟滞扩散。 高熵合金中 ,每个阵点周围的原子都有所不同。因此,一个原子迁移至空位处后,与它相邻的原子是有差异的。这种局部原子构成的差异导致了不同阵点处原子键合的差异,进一步地,不同阵点处结合能也有所不同。当原子迁移至低能量阵点时,将被 “困住”,原子从这 一位置迁移出去的概率将减小。相反,如果该阵点是一个高能量的阵点,原子则具有更高的概率跳回到原始位置。这两种情况都将减缓扩散过程。需要注意的是,低固溶度的传统合金中,原子迁移至空位前后,局部原子构成绝大多数情况下是相同的。 (4)"鸡尾酒"效应 “鸡尾酒”效应最初由印度科学家提出。高熵合金包含多种元素,其整体性质即与组成元素的性质有关,如添加轻元素会降低合金的密度,又如添加耐氧化的元素如Al,Cr,Si等会 提高合金的抗氧化能力,但又绝不是混合法则下各元素性质的简单叠加。由于组成元素之间有强烈的相互作用,因此高熵合金的性能呈现出类似于“鸡尾酒”效应的综合效应。例如,Al是较软的FCC结构金属,但AlxCoCrFeNi和AlxCoCrCuFeNi两种合金的结构均展现随Al元素含量的增加从FCC向BCC转化的特点,且强度和硬度随之显著增大,如图4所示。出现这种现象的原因是Al原子与其他原子混合焓较负,结合力较强,且 Al原子的半径较大, 造成较大的晶格畸变。 图4 铸态CuCoNiCrAIxFe高熵合金系硬度与晶格常数示意图 高熵效应使高熵合金形成“超级固溶体”,晶格畸变效应导致高熵合金存在强烈的强化作用,迟滞扩散效应使高熵合金中形成大量纳米尺度析出相,这些因素的共同作用使其产生了不同于传统合金的结构特点,导致其获得一些独特的性质和性能。 1)力学性能 高强度、高硬度、高耐磨性是高熵合金主要的力学性能特点。高熵效应使高熵合金成为 “超级固溶体”,严重的晶格畸变导致强烈的固溶强化作用,迟滞扩散效应促使高熵合金析出纳米晶。这些因素的综合作用,致使高熵合金表现出优异的力学性能 。 目前力学性能测试多是对铸态合金进行室温准静态压缩及硬度测试。对于铸态高熵合金,就硬度/强度而言,相结构是主要影响因素。具体而言,主要是以下3个方面: ① 合金中各组成相的硬度/强度; ② 各相的体积分数; ③ 组成相的形态和分布。 高熵合金中常见合金相,大体可分成4类,每类具有不同的硬度范围,见表1。组成元素种类相同或相近的不同合金中,BCC结构的合金通常比FCC结构的合金强度/硬度高。 表1 高熵合金中常见的组成相及其典型的硬度范围 图5为放电等离子烧结法制备的AlxCoCrCuFeNi(x=0.45,1, 2.5,5)高熵合金的 维氏硬度与铝含量之间关系图。其中Al5CoCrCuFeNi高熵合金的硬度最高,达到了960HV。基于霍尔一佩奇效应,分析认为,与晶粒尺寸强化相比,随着铝含量的增加,固溶强化和有 序强化得到明显增强。 图5 AlxCoCrCuFeNi<x=0.45,1,2.5,5)高熵合金的维氏硬度 图6为CoCrFeNiAlTix(x=0,0.5,1,1.5)系列高熵合金的压缩真实应力一应变 曲线,其屈服强度均大于 1.4GPa,断裂强度均超过2.5GPa。尤其是 CoCrFeNiAlTi0.5双BCC相高熵合金,其屈服强度达到了 2.26GPa,断裂强度达到 3.1GPa,且断裂应变仍高达 23.3%。 图6 CoCrFeNiAlTix(x=0,0.5,1,1.5)高熵合金的压缩真实应力一应变曲线 图7 高熵合金与常规结构材料密度一屈服强度 图8 高熵合金与常规结构材料的杨氏模量一比强度 图9 高熵合金与常规结构材料的杨氏模量一应变硬化率 图10 FeCoNiCrMn高嫡合金与常规结构材料应变硬化率比 较 图11 高熵合金与镍基高温合金高温力学性能 2)耐热性 高熵合金的熔点普遍较高,并且在高温时仍具有较高的强度与硬度。由于高熵合金混乱度大,加之高温的作用会更加显著,使其高熵效应得到充分发挥,依旧存在固溶强化效应。 3)耐腐蚀性 高熵合金中一些特定元素易形成致密氧化膜,同时,合金具有玻璃化、微晶化、单相结构等特性,这些为高熵合金耐腐蚀性能的提高提供了有利条件,尤其是含有Cu,Ti,Cr,Ni或Co的高熵合金,与304不锈钢一样,在高浓度H2SO4,HCI,HNO3 中均表现出很好的耐腐蚀性能,这个特性是其他铁合金所不具备的,见表2。Cu对合金抗腐蚀能力的增强有重要意义,这是因为Cu有利于钝化膜(硫化铜、硫酸铜、氢氧化铜)的形成,可阻挡或减少合金与腐蚀液的接触机会,增大腐蚀电位,减小腐蚀电流密度,从而增强合金的抗腐蚀性。 表2 高熵合金的耐腐蚀性能 4)磁学性能 由于现阶段高熵合金成分中普遍包括 Fe,Co.Ni等磁性元素,使得这些高熵合金的磁学性能较为显著。图12为 CoCrFeNiCuAI合金的室温磁化曲线及饱和磁化强度随温度变化的曲线。CoCrFeNiCuAI高熵合金室温饱和磁化强度为38.18emu/g,剩磁比为5.98%,矫顽力为 45Oe,退火后饱和磁化强度为16.08emu/g,剩磁比为3.01%,矫顽力为15Oe。退火后合金的磁性能比铸态合金的有所下降。研究表明,CoCrCuFeNiTix,CoCrFeNiCuAI高熵合金具有很好的软磁性能。 图12 CoCrFeNiCuAI合金的磁化曲线 (a)室温磁化曲线;(b)饱和磁化强度随温度变化曲线 在传统合金的制备基础上,高熵合金的制备方法也得到了相对充分的研究。叶均蔚等人最开始制备高熵合金时使用的方法是真空电弧熔铸法 ,它也是当今科研领域最常用的一种制备高熵合金的方法。铸造所得的合金尺寸和形状经常会受到限制,而且产品的内应力较大,微观组织在制备过程中比较难控制,成分偏析、脆性相、空隙以及缩孔等缺陷容易出现 ,这些缺陷往往会使材料的综合性能受到严重的影响,故而限制了产品的推广。随着国内外科研工作者研究的深人,到目前为止已经研究出了有很多种适合高熵合金的制备方法,如真空熔炼法、激光熔覆法、机械合金化法、粉末冶金法等。高熵合金涂层主要采用电化学法、热喷 涂法、磁控溅射法等技术制备。 1)真空熔炼法 这项技术是用来制备高熵合金最传统 、应用次数最多的方法。真空熔炼法主要是将一定比例的纯金属放人坩埚中,不断抽气达到真空状态 ,再充入保护性气体氩气(Ar)以防原材料被污染 ,等到所有金属均匀融化后放入水冷铜模中浇铸成型 。根据原理,真空熔炼分为真空电弧熔炼法和真空热感应熔炼法 : ① 真空电弧熔炼法 。 真空电弧熔炼法设备如图13所示 ,利用电热,即在电极和装有需要被熔炼物质的坩埚之间产生电弧以得到高温 ,但是在熔化之前,要在真空熔炼炉中反复抽真空后充入惰性气体进行保护。这种方法可以用来制备熔点比较高的合金,而且对清除某些比较容易挥发的杂质与气体非常有效。真空电弧熔炼法与其他制备高熵合金的方法相比在操作上更加容易 ,但是用该方法制作出来的铸锭内各个区域的各元素含量不均匀 ,需要之后再进行二次熔解、热处理等方法来去除偏析现象。 图13 真空电弧熔炼法制备装置 ② 真空热感应熔炼法。 真空热感应熔炼法原理 如图14所示。利用电磁感应技术,热感应炉可以在感应过程中产生涡电流 ,炉料本身也有电阻 ,可以将涡电流转化成自身的热量达到熔化金属的目的。该项技术可以同时熔炼大量的合金 ,然而对金属元素的熔点有一定限制,只能熔炼一些熔点不高的原材料。在选取组成高熵合金的金属元素时,一般会选取一个或者多个熔点较高的金属元素,所以,该种方法应用得不太广泛。 图14 真空热感应熔炼法制备高熵合金 2)激光熔覆法 激光熔覆法,又叫激光包覆法,是一种用来改善基体材料表面性能的技术。原理是,在材料基体表面附着一种熔覆材料并利用高能密度的激光束对表面进行辐照,激光束能够在瞬间产生大量的热,使熔覆材料在基体表面迅速熔化,随后在基体材料的表面进行扩散和凝固,形成具有特殊要求性能涂层。由于辐射在基体表面的高能密度激光具有非常高的能量密度,因而其加热速度非常快,能够迅速熔融涂覆材料,对基体的热影响较小。另外,还可通 过控制激光输人功率来控制激光的高能密度并控制原始熔覆材料熔融速度和熔融程度从而控制基体材料涂层的性能。利用激光熔覆可在涂层材料和基体材料间得到十分致密的合金层从 而使涂层能够稳定存在。 3)机械合金化法 机械合金法是一种固态加工工艺,将固态的合金粉末放置于球磨罐中加入一定数量的磨球 ,再将球磨罐放置于高能球磨机中,球磨罐在高能球磨机中进行高速旋转,从而研磨球对粉末颗粒进行长时间快速打击研磨,从而使得元素粉末发生原子扩散使各元素充分混合均匀,最终实现固态合金化。由于该制备技术是通过磨球的碰撞打击使得各元素进行合金化,因而其较易得到纳米晶和非晶结构,因此机械合金方法在制备非晶合金粉末以及纳米晶粉末 等材料有较大优势。机械合金化特点使其制备的高嫡合金与传统的熔炼铸造方法相比有着较好的综合性能 。该方法制备的高嫡合金具有稳定的微观结构 ,较好元素均匀性和较好的力学性能。 4)粉末冶金法 粉末冶金法是以制成粉末状态的金属或非金属作为原料,再将原料粉末进行压制、烧结 ,最终得到高熵合金制品。由于粉末冶金方法能够进行低温度烧结且能够避免枝晶偏析,这是传统的熔炼与铸造的方法无法做到的,因而可以用粉末冶金的方法来制取用普通的熔炼与铸造方法难以制备的一些材料,并且该方法材料利用率较高,一般能够达到 90%以上,充分节约了制备的成本 。基于粉末冶金法的优势,其越来越受到众多研究者的青睐 。粉末冶金法中令人关注的一种技术是,等离子烧结技术 (SparkPlasmaSintering,SPS)。该技术是通过在粉末颗粒间或空隙内开关直流脉冲电压产生瞬间高温的等离子体,这些等离子体能将粉末颗粒表面吸附的杂质和气体迅速消除,并能够提高物质扩散和迁移的效率 ,使物质在低温和短时间内完成烧结 。 图15 放电等离子烧结法制备高熵合金 该技术的优点: ①具有高达100K/s的升温速率,能实现快速升温; ②烧结后得到的产品晶粒很小,可以比其他制备粉末的方法小1个数量级,细晶效果非常明显; ③烧结能使材料的致密度快速提升,几分钟的时间就能达到98%的致密度; ④烧结工艺简单 ,一般不用对粉末进行预先的压片处理,也无须添加任何黏 结剂; ⑤烧结后的材料力学性能较好。 多主元高熵合金表现出与传统合金不同的特性,通过适当的合金配方设计,可以获得种类繁多的新型合金,这类合金具有高强度、高硬度、耐高温氧化及耐高温软化、耐腐蚀、耐磨、高电阻率、优异的磁电等综合性能,具有广阔的应用前景。利用高熵合金的高硬度及耐磨性,可制作刀具、模具、各类工具,如高尔夫球头打击面、油压气压杆、钢管及辊压筒的硬面;高熵合金良好的耐火性使其可作为涡轮叶片材料、焊接材料、热交换器材料、高温炉的耐火材料、喷镀金属材料的抗扩散膜、微机电材料、超高大楼的耐火骨架材料和航空航天材料;高强度及良好的耐蚀性使其可作为化学工程及船舶材料;优异的磁学性能使其可应用于电子通信领域,如作为高频变压器、马达的磁心、磁屏蔽、磁头、磁盘、磁光盘、高频软磁薄膜材料。 1)耐热性的应用 无论何种类型,热机的效率随着温度的升高而增加.如核能、燃煤和燃油等发电行业中,工作温度的升高可以降低燃料消耗、污染和运行成本.在喷气发动机工业中,工作温度的增加可使性能改进,例如更重的有效载荷、更大的速度和更大的范围的组合等.目前发动机主要部件材料的开发还是集中在Ni基高温合金材料上,但由于其初始熔点大约在1300℃,镍基高温合金适用于温度仅在1160~1277℃之间.因此,开发具有更优异高温性能的发动机部件材料变得至关重要.试验表明这两种耐火HEAs在1600℃时的屈服强度超过400MPa,这远高于Inconel 718 Ni 基高温合金在1000℃的屈服强度(低于200MPa).热机的开发需要进一步改善发动机部件材料的高温性能.与Ni基高温合金相比,HEAs在高温下具有更高的稳定性、更低的成本和密度、正的晶格失配,这表明这些合金由于具有吸引人的高温机械性能,有可能取代Ni基高温合金作为下一代高温材料. 2)断裂韧性的应用 材料的断裂往往关乎着安全的问题,一般来说,根据失效应变可以分为脆性和韧性断裂.脆性断裂没有塑性变形的迹象,通常以灾难性方式发生,开发具有卓越性能的新型金属材料具有重要意义.据报道,当温度从298K下降到77K时,CrMnFeCoNi高熵合金的断裂韧性几乎保持恒定,而CrCoNi高熵合金的断裂韧性略微增加.在这些HEAs中,没有出现像钢、非晶合金、镁合金、多孔金属和纳米金属等许多传统合金那样尖锐的韧脆转变,这表明这些合金可能是极端寒冷条件下应用的优良候选材料,例如,用于船体、飞机和低温储存罐的材料等. 高熵合金优异的综合性能使得其适用范围宽广.高熵合金软磁性能优异,且在力学性能、加工性能上优于现有常规软磁材料;高熵合金高温稳定性、高温抗氧化性优异,可以应用在极端环境中;高熵合金具有高硬度、高强度特点,可用作硬质刀具涂层;除此之外,高熵合金还可以用作光热转换材料、轻质合金材料、模具材料等.高熵合金可广泛应用在电机、变压器、机床工具、消费电子、发动机叶片、喷气飞机引擎、核聚变等众多领域. 高熵合金作为合金界的新秀,吸引了越来越多研究者的目光,未来可期!
免责声明:本网站所转载的文字、图片与视频资料版权归原创作者所有,如果涉及侵权,请第一时间联系本网删除。
官方微信
《腐蚀与防护网电子期刊》征订启事
- 投稿联系:编辑部
- 电话:010-62316606-806
- 邮箱:fsfhzy666@163.com
- 腐蚀与防护网官方QQ群:140808414






















