01 纯铜
纯铜呈紫红色,故又称紫铜,具有面心立方晶格,无同素异构转变,无磁性。
纯铜具有优良的导电性和导热性,在大气、淡水和冷凝水中有良好的耐蚀性,塑性好。
杂质元素:
铋或铅:容易与铜形成低熔点共晶,造成铜的热脆;
铋或锑等:与铜的原子尺寸相差大,容易引起铋或锑在铜
晶界处偏聚,产生强烈的晶界脆化倾向。
氧元素:含氧铜在氢气还原时,易裂纹。
工业纯铜的牌号及应用
根据O%和生产方法的不同,可分为三类:
韧铜:
0.02%-0.10%O;T1,T2,T3,T4;
T1、T2:导电及高纯度铜合金用;
T3、T4:一般用铜材及铜合金.
无氧铜:
<0.003%;
TU1,TU2: 主要用于电子真空仪器仪表中导体
脱氧铜:
<0.01%;TUP,TUMn;
TUP:主要用于焊接用铜材,制作热交换器、排水管、 冷凝管等;
TUMn:用于电子管用铜材。
02 铜合金
铜合金常加元素为Zn、Sn、Al、Mn、Ni、Fe、Be、Ti、Zr、Cr等,既提高了强度,又保持了纯铜特性。
铜合金分为黄铜、青铜、白铜三大类。
合金元素的溶解度:
无限互溶元素:Ni、Au、γ-Mn等;
有限溶解元素:除无限互溶元素外的大多数合金元素。注:当合金元素与铜原子尺寸差别很大时,溶解度一般较小,如Sn、As等。
图3合金元素的固溶强化效果
合金元素对导电性、导热性的影响 :
1. 黄铜
以锌为主要合金元素的铜合金称为黄铜。
黄铜按成分分为普通黄铜和特殊黄铜;按工艺可分为加工黄铜和铸造黄铜。
黄铜的牌号及表示方法:
铸造黄铜:
Z+Cu+主加元素及含量,例如:ZCuZn38
普通黄铜:
H+铜含量,例如:H62
复杂黄铜:
H+主加元素+铜含量+主加合金元素含量,例如:HMn58-2
普通黄铜的相组成:
α固溶体:Cu3Zn 有两个变体α1和α2, α固溶体有良好的力学性能和冷热加工性,是常用的合金成分范围。
β相电子化合物:以CuZn为基础的固溶体,具有体心立方结构。
高温无序的β相的塑性好,而有序的β′相难以冷变形。故含β′相的黄铜只能采用热加工成型。
γ相电子化合物:Cu5Zn8为基的固溶体,硬且脆,难以塑性加工,故含γ相的合金无实用价值。
黄铜的组织:
w(Zn)<36%:α黄铜
铸态组织为单相树枝状晶;
形变及再结晶退火后:等轴α 相晶粒,具有退火孪晶。
w(Zn)=36~46%的合金为(α+β)黄铜。
(a) 单相黄铜
(b) 双相黄铜
普通黄铜的性能
单相的α黄铜具有极好的塑性,能承受冷热塑性变形;在200~700℃间存在低塑性区。
因素:一种是存在Cu9Zn和Cu3Zn有序固溶体,在中温时发生原子有序化,使合金塑性下降;另一种是含有微量低熔点的铋、锑、铅等杂质元素引起的晶界脆性。
(α+β)黄铜在加热到高于500 ℃时,低温有序的β′相转变成无序的β相, β相极软,但晶体结构为体心立方,原子扩散快晶粒易长大。一般锻造温度略低于(α+β)/ β相线,以保留少量α 相,阻碍相晶粒长大。
黄铜有良好的铸造性能,在大气、淡水中耐蚀,在海水中耐蚀性尚可。黄铜的腐蚀表现在脱锌和应力腐蚀。
黄铜的腐蚀与防止
黄铜的腐蚀分为电化学腐蚀(脱锌)和应力腐蚀。
1)脱锌:是指锌在中性盐溶液中发生选择性水解。可加入微量的砷W(As)=0.02~0.06%加以防止。
2)应力腐蚀:冷变形后的黄铜在张应力、腐蚀介质NH3、SO2和湿空气的联合作用,发生腐蚀。
应力腐蚀的防止:
1)去应力退火;
2)表面镀锌或镉;
3)在黄铜中加入少量的Si和微量的砷可减小自裂倾向。
几种加工黄铜
低锌黄铜H96、H90、H85有良好的导电性、导热性和耐蚀性,有适宜的强度和良好的塑性,大量用于冷凝器和散热器。
三七黄铜H70、H68强度高,塑性好,用于深冲或深拉制造形状复杂的零件,如散热器外壳、导管、波纹管以及枪弹和炮弹壳体。
四六黄铜H62、H59为(α+β)黄铜,可经受高温热加工,H62黄铜强度高,塑性较好,用于制造销钉、螺帽、导管及散热零件等。
特殊黄铜
加入其他合金元素如锡、铝、硅、铅、铁、镍等后, α/(α+β)相界发生移动,有的缩小α相区,有的扩大α相区。每w=1%的合金元素在组织上替代锌的量称“锌当量”(K)。锌当量小于1的是扩大α相区的元素。
由“虚拟锌含量”x 来判断相区移动
式中,A、B分别为多元黄铜中锌和铜的实际含量;∑ CK为除锌外的合金元素的实际含量(C%)和该元素的锌当量(K)的乘积总和。
举例几种特殊黄铜
1)锡黄铜
锡显著提高黄铜在海洋大气和海水中的抗蚀性,并使强度有所提高。压力加工锡黄铜广泛用于制造海船零件。HSn70-1锡黄铜又称“海军黄铜”,用于舰船。
2)铝黄铜
在黄铜中加入少量铝可在合金表面形成致密并和基体结合牢固的氧化膜,提高合金对腐蚀介质特别是高速海水的耐蚀性。铝在黄铜中的固溶强化作用,进一步提高合金的强度 铝黄铜可制和硬度。
w(Al)=2%,w(Zn)=20%的铝黄铜具有最高的热塑性,故HAl77-2 铝黄铜可制成强度高、耐蚀性好的应用广泛的管材,用于海轮和发电站的冷凝器等。HAl85-0.5铝黄铜W(Al)=0.5%,w(Zn)=15%,色泽金黄,耐蚀性极高,可做装饰材料,作为金的代用品。
3)硅黄铜
HSi65-1.5-3 硅显著提高黄铜的机械性能、耐磨性和耐蚀性。硅黄铜具有良好的铸造性能,并能进行焊接和切削加工,主要用于制造船舶及化工机械零件。
4)铅黄铜
铅改善切削加工性能,提高耐磨性,对强度影响不大,略微降低塑性。它作为金属物夹杂物分布在α黄铜枝晶间,引起热脆。但在(α+β)黄铜中,凝固时先形成β相,随后继续冷却,转变为(α+β)组织,使铅颗粒转移到黄铜晶内,铅的危害减轻。用于要求良好切削性能及耐磨性能的零件(如钟表零件等),铸造铅黄铜可制作轴瓦和衬套。
此外,还有锰黄铜、镍黄铜、铁黄铜,都是为了改善耐蚀性或进一步提高强度。
2. 青铜
青铜是Cu和Sn、Al、Be、Si、Mn、Cr、Cd、Zr和Co等元素组成的合金的统称。
青铜根据成分可分为锡青铜(Cu-Sn)和特殊青铜。在特殊青铜中,根据主加元素又分别命名为铝青铜(Cu-Al)、铍青铜(Cu-Be)等。
二元青铜:Cu-Sn, Cu-Al, Cu-Be,…;
多元青铜:Cu-Sn-M, Cu-Al-M, Cu-Be-M,…
青铜的牌号及表示方法
加工青铜:Q+主加元素及含量+其他元素含量
例如:QSn4-3
铸造青铜:Z+Cu+主加元素及含量
例如:ZCuPb30
1)锡青铜
锡青铜是历史上应用最早的合金。
锡青铜的相组成:
α相:含锡的铜基固溶体,
β相:Cu5Sn体心立方结构, 降温时分解。
γ相:不稳的高温相,
δ相:Cu31Sn8,复杂立方结构,硬而且脆在。
ε相:Cu3Sn,具有密排六方结构。
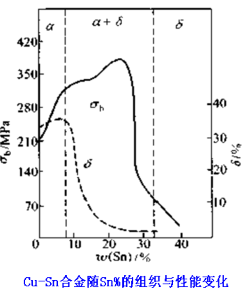
锡青铜的组织:
w(Sn)<6%铸态组织:由树枝状α固溶体组成。
w(Sn)>6%时:α固溶体和(α +ε)共析体所组成。
锡青铜的性能:
铸造性能:
优点:铸件收缩率小,适于铸造形状复杂,壁厚变化大的器件。
缺点:锡青铜存在枝晶间的分散缩孔,致密性差,在高压下容易渗漏,不适于制造密封性高的铸件。
同时铸件凝固时含锡高的低熔点液相易从中部向表面渗出,出现反偏析,严重时会在表面出现灰白色斑点的“锡汗”,它主要由δ相所组成。
力学性能:
有较高的强度、硬度和耐磨性。
工业锡青铜中锡含量不超14%,其中w(Sn) 低于7~8%为变形锡青铜,有高塑性和适宜的强度;
高于10% 的锡青铜为铸造合金,用于铸件。
化学性能:
锡青铜在大气、海水和碱性溶液中有良好的耐蚀性,用于铸造海上船舶和矿山机械零件。
2)多元锡青铜
二元锡青铜的工艺性能和力学性能需要进一步改进,一般工业用锡青铜部分别加入合金元素Zn、P、Pb、Ni等,得到多元锡青铜。
+P:能显著提高合金的弹性极限和疲劳极限,并能承受压 力加工,广泛用于制造各种弹性元件。如QSn6.5-0.1:可制造导电性好的弹簧、接触片、精密仪器中的齿轮等耐磨和抗磁元件。ZQSn10-1:Cu3P与δ相可作为青铜轴承材料的耐磨相,可做耐磨轴承合金。
+Zn: 可提高力学性能和耐蚀性。QSn4-3 , 常用作制造弹簧、等弹性零件和抗磁零件。
3)铝青铜
铝青铜有良好的力学性能、耐蚀性和耐磨性,是青铜中应用最广的一种。
铝青铜的相组成
α固溶体:铝在铜基α固溶体,铝青铜有高的强度和塑性。
β相:Cu3Al电子化合物为基的固溶体,具有体心立方相为点阵。
γ 1、 γ2相:以Cu9Al4电子化合物为基的固溶体,γ2相硬而且脆,能提高合金的耐磨性。
铝青铜的性能
铸造性能:
二元铝青铜的结晶间隔小,液相有极高的流动性,缩孔集中,可获得高密度铸件;但体积收缩大,要求有大的冒口。
力学性能:
w(Al)=5~8%的合金为单相α 合金,有高的塑性,一般做变形合金;
w(Al)高于8%的合金,在高温下为α+β双相合金,可经受热加工,一般用热挤压法成型。
化学性能:
铝青铜可在表面生成含铝和铜的致密复合氧化膜,有良好的耐蚀性,在大气、海水、碳酸和有机酸中,耐蚀性优于黄铜和锡青铜。
工业中二元铝青铜有QAl5、QAl7和QAl10
4)多元铝青铜
添加铁、镍、锰等元素,获得多元铝青铜。QAl10-4-4 (Al-Fe-Ni): Fe 细化, 提高强度; Ni显著提高强度、热稳定性和耐蚀性。
加入少量铁后,在液相中形成细小的FeAl3质点,使合金在凝固时作为非自发形核核心,细化铸造组织,消除铸锭的粗大柱状晶,改善热塑性。铁阻碍铝青铜的再结晶,细化晶粒。铁还减慢β 相共析分解。
镍能显著提高铝青铜的强度、热稳定性和耐蚀性。Cu-14Al-4Ni合金是形状记忆合金。镍和铁同时加入时,会形成k相。当镍和铁加入量相当时得到细小而分散的k相分布,具有很好的力学性能,并在高温下有良好的热强度。
5)铍青铜
铍青铜一般w(Be)=1.5~2.5%。
铍青铜相组成:
α固溶体:Be在铜基α固溶体。
γ1相:CuBe电子化合物为基的无序固溶体,体心立方。高温有好的塑性。
γ2相:CuBe电子化合物为基的固溶体,体心立方有序结构,γ2相硬而脆。
铍青铜的性能与用途
铍青铜有强的沉淀强化效应,经固溶淬火和时效,得到高的强度和弹性极限;
具有良好的导电和导热性能;耐蚀和耐磨;
无磁,冲击时无火花 ;
可制造高级弹性元件和特殊耐磨元件,还用于电气转向开关、电接触器等;铍为强毒性金属,生产时需严格操作;
QBe2, QBe1.9,强度可达成1200-1400 MPa 。
6)多元铍青铜
少量镍抑制淬火时α过饱和固溶体分解,使热处理效果好,降低铍在晶界的偏聚量,抑晶界不连续沉淀。
微量钛w(Ti)=0.1~0.25%可抑制过饱和固溶体脱溶,细化铸造和再结晶晶粒,减少晶界不连续沉淀,改善铍青铜的力学性能。
7)其他青铜
硅青铜
弹性好,耐蚀性极高,有良好的耐磨性,并且抗磁、耐寒,撞击无火花,工艺性能好。加入Mn(QSi3-1), Ni(QSi1-3)可提高硅青铜的性能。
耐热、高导电合金
铬和锆:提高蠕变强度,提高再结晶温度,并且导电率降低小。铬和锆同时加入可形成Cr2Zr是良好的沉淀强化相,可得到耐热性更好的高导电合金(高架线)。
3. 白铜
白铜按成分分为二元白铜(Cu-Ni)和多元白铜(Cu-Ni-(M))。
按用途分为结构白铜和电工白铜。
铜与镍由于在电负性、尺寸因素和点阵类型上均满足无限固溶条件,因而可形成无限固溶体。
其硬度、强度、电阻率随溶质浓度升高而增加,塑性、电阻温度系数随之降低。
结构白铜
常用的牌号有B10、B20、B30;
在大气、海水、过热蒸气和高温下有优良的耐蚀性,而且冷热加工性能都很好,可制造高温高压下的冷凝器、热交换器,广泛用于船舶、电站、石油化工、医疗器械等部门. B20也是常用的镍币材料,可制造高面额的硬币。
加入Fe, Zn, Al, 可提高其性能(多元白铜)。
电工白铜
1)康铜
含Ni40%、Mn1.5%的锰白铜;
具有高电阻、低电阻温度系数,与铜、铁、银配成热电偶对时,能产生高的热电势,组成铜-康铜、铁—康铜和银—康铜热电偶,测温精确,工作温度范围为-200℃--600℃。
2)考铜
Ni43%、Mn0.5%的锰白铜;
有高的电阻, 与铜、镍铬合金、铁分别配成热电偶时,能产生高的热电势,考铜—镍铬热电偶的测温范围从-253℃(液氢沸点)到室温 。
3)B0.6
B0.6在l00℃以下与铜线配成对, 其热电势与铂铑-铂热电偶的热电势相同,可做铂铑—铂热电偶的补偿导线。
免责声明:本网站所转载的文字、图片与视频资料版权归原创作者所有,如果涉及侵权,请第一时间联系本网删除。
相关文章
官方微信
《腐蚀与防护网电子期刊》征订启事
- 投稿联系:编辑部
- 电话:010-62316606-806
- 邮箱:fsfhzy666@163.com
- 腐蚀与防护网官方QQ群:140808414
点击排行
PPT新闻
“海洋金属”——钛合金在舰船的
点击数:8158
腐蚀与“海上丝绸之路”
点击数:6488



















