表面现象以及表面变化过程是自然界普遍存在的。工程上,几乎所有的零部件都不可避免要与环境接触,而与环境直接接触的正是零部件的表面。表面在于环境相互作用地过程中,往往会发生腐蚀、磨损、氧化、浸蚀,从而引发零部件飙升发生破坏或失效,进而引起零部件的破坏或失效。因此,表面是防止设备失效的第一道线。表面工程是指表面预处理后,通过表面强化、表面改性或多种表面工程技术复合处理,改善固体金属表面或非金属表面的形态、化学成分。组织结构以及应力状态,以获得所需表面性能的系统性工程。
金属表面强化技术
01 表面形变强化
表面形变强化是通过机械手段(滚压、喷丸等)在金属表面产生压缩变形,使表面形成硬化层,形变硬化层深度可达0.15-1.5mm,表面形变强化的方法主要有:喷丸强化、表面滚压技术、孔挤压强化。压缩过程中,形变硬化层中将产生以下两种变化:
(1)从组织结构上看,强化层内位错的密度极高,晶格的畸变度大,在交变应力的作用下,符号相反的位错相遇后会相互抵消,符号相同的位错将重新排列。此时,强化层内位错密度虽有下降,但会逐渐形成更加细小的亚晶粒。
(2)从应力状态上看,由于表层与内层的金属变形程度不平衡,表层金属向四周塑变延伸时,会受到内层金属的阻碍,在强化层内形成了较高的宏观残余压应力。
1 喷丸强化
喷丸强化,又称受控喷丸强化,是将高速弹丸流喷射到零件表面,使零件表层发生塑性变形,从而形成一定厚度的强化层,由于零件表面压应力的存在,当零件承受载荷时可以抵消一部分应力,从而提高零件的疲劳强度。喷丸强化如图1所示。

图1 喷丸强化过程示意图
在室温下利用高速喷射的细小硬质弹丸打击工件表面,使表面层在再结晶温度下产生弹性、塑性变形,如图2所示,并呈现较大的残余压应力,因为当每颗钢丸撞击金属零件上,宛如一个微型棒褪敲打表面,捶出小压痕或凹陷。为形成凹陷,金属表层必定会产生拉伸。表层下,压缩的晶粒试图将表面恢复到原来形状,从而产生一个高度压缩力作用下的半球,无数凹陷重叠形成均匀的残余压应力层,从而提高表面疲劳强度和抗应力腐蚀的能力。

图2 喷丸表面得塑性变形
喷丸也可以用来清除厚度不小于2mm或不要求保持准确尺寸及轮廓的中型、大型金属制品以及铸锻件上的氧化皮、铁锈、型砂及旧漆膜,是表面涂(镀)覆前的一种清理方法。喷丸强化是一个冷处理过程,它被广泛用于提高长期服役于高应力工况下的金属零件,如飞机引擎压缩机叶片、机身结构件、汽车传动系统零件等的抗疲劳属性。
喷丸按射出弹丸的速度分为普通喷丸和超音速表面喷丸,超音速喷枪射出的弹丸速度为300~500m/s,并随着零件的转动,可实现对整个零件表面的喷丸强化。
(1)喷丸强化的设备
按驱动弹丸的方式,可将喷丸强化机分为机械离心喷丸机和气动喷丸机两大类。此外喷丸机又有干喷和湿喷之分,干喷式喷丸机工作条件差,湿喷式喷丸机是将弹丸混合成悬浮状,然后喷出弹丸,因此工作条件有所改善。
①机械式离心喷丸机弹丸在高速旋转的叶片和叶轮离心力的作用下被加速抛出。该型喷丸机喷丸功率小,制造成本高,主要用于喷丸强度高、品种少、批量大、形状简单、尺寸较大的工件,如图3所示。

1-叶轮;2-叶轮转向;3-接触叶片前的弹丸;4-弹丸输送管;5-漏斗;6-压缩空气;7-喷射管;8-90°弯曲喷管;9-弹丸
图3 机械离心式喷丸机
②气动离心喷丸机以压缩空气为驱动力,将弹丸加速到较高速度后,随后弹丸撞击工件的受喷表面。该型喷丸机可通过控制气压来控制喷丸强度,操作灵活,一台机器可喷多个零件,适用于喷丸强度低、品种多、批量小、形状复杂、尺寸较小的零部件,但功耗大、生产效率低,如图4所示。

1-零件;2-阀门;3-空气过滤器;4-管道;
5-喷嘴;6-导丸管;7-储丸箱;8-排尘管;9-转换口
图4 气动离心式喷丸机
(2)弹丸的种类
钢丝线切割丸:常用钢丝直径d=0.4~1.2mm,硬度以45~50HRC为最佳,组织最好是回火M或者B。
铸钢丸:弹丸尺寸为0.2~1.5mm,经退火处理,硬度为30~57HRC,易碎,耗量大,但价格便宜。铸钢丸的品质与含碳量有关,一般含碳量在0.85%~1.2%,锰含量在0.65% ~ 1.2%。
玻璃弹丸:含60%的SiO?,硬度为46~50HRC,脆性大,适用于零件硬度低于弹丸的硬度的场合。
陶瓷弹丸:弹丸硬度高,但脆性大,喷丸后可获得较高的残余压应力。
液态喷丸:包括SiO?颗粒和Al?O?颗粒。喷丸时用水混合SiO?颗粒,利用压缩空气溅射。
2 表面滚压技术
表面滚压技术是在一定压力作用下,滚球或辊轴对被加工零件表面进行滚压或挤压,使其发生塑性变形,形成强化层的工艺过程,如图5所示。

图5 表面滚压强化示意图
表面滚压技术的表面改性层深度可达到5mm以上,仅适用于一些形状简单的平板类零件、轴类零件和沟槽类零件等,对形状复杂的零件表面无法应用。表面滚压技术具有很多无法比拟的优点,如表面滚压技术仅改变了材料的物理状态,并未改变材料的化学成分;表面滚压技术采用的工具和工艺比较简单,加工效率高;滚压滚压技术是一种无切削加工工艺,在加工过程中不会产生废屑、废液,对环境的污染少,符合“绿色制造”的发展理念。此外,表面滚压技术可消除零件表面因切削加工引起的拉应力,并使零件表面处于压应力状态,残余的压应力既可以使裂纹尖端闭合又可以抑制裂纹尖端的扩展,从而进一步提高零件的疲劳寿命,该技术在工业中得到了广泛的应用,产生了巨大的经济效益。
(1)作用机理
①微观组织机理。经过切削加工之后,金属的表面都残留有刀具的切削痕迹,在微观下观察可以看见金属的表面呈现出凹凸不平之状。滚压加工是一种压力光整加工,在滚刀的作用下金属表面会发生强烈的塑性变形。根据工程材料的相关理论,金属发生塑性变形的基本方式是滑移,即晶体沿某一晶面和晶向相对于另一部分发生相对滑移。在外力的作用下,晶体不断滑移,晶粒在变形过程中逐步由软取向转动到硬取向,晶粒之间互相约束,阻碍晶粒的变形。由于工业所用金属多为多晶体,故金属能承受较大的塑性变形而不会被破坏。金属内部晶粒的不断滑移会使得晶粒的位错密度增加、晶格发生畸变,符号相反的位错相互抵消,符号相同的位错则重新排列行成更加微小的亚晶粒。晶粒越细小,位错密度越高,产生的变形分散就越多,因而不易产生局部的应力集中,使得滚压后的金属材料的屈服强度和疲劳性能得到显著提高。
②表面质量机理。金属表面质量的好坏常用表面粗糙度来衡量,表面粗糙是造成应力集中的主要因素之一,粗糙的表面易形成尖端切口,造成应力集中,而疲劳源则往往出现在应力集中处,在交变应力的作用下,应力集中促使疲劳裂纹的形成和扩展。表面越粗糙、尖端切口越尖锐,应力集中就越严重。滚压强化就是利用滚轮对工件表面的滚压作用,使工件表层金属产生塑性流动,填入到原始残留的低凹波谷中,从而降低工件表面的粗糙度,消除残留刀痕,减少应力集中,进而提高工件的疲劳寿命。
③残余压应力机理。早在20世纪30年代人们就发现,让零件表面产生残余压应力可以延长工件的疲劳寿命。金属材料表面的裂纹扩展的条件是外加交变载荷达到某一界限(即应力强度达到材料本身的临界应力强度时)。而滚压则可以减少表面原有的微观裂纹,还可以产生残余压应力,从而提高零件的疲劳寿命。
(2)影响滚压效果的工艺参数
影响表面滚压效果的工艺参数主要有:滚压力、滚压次数和滚压速度等。滚压力即为滚轮压到工件表面上的力,其对工件的疲劳强度有很大的影响,但目前对其研究还不够成熟,没有数学公式能够准确地计算出最佳滚压力。最佳滚压力还与零件本身强度、零件尺寸、滚轮直径等因素有关,生产中则是通过工艺试验来确定最佳滚压力;滚压次数即为滚轮压过工件同一位置的次数,它对工件的疲劳强度有很大影响,次数较少时,工件表面未能达到应有的塑性变形,次数较多时,工件会产生接触疲劳,严重时会使表面脱落;滚压速度即为滚压加工时工件的转动速度,其对工件的疲劳强度影响不大,但影响滚压加工的效率,若转速过高,则会引起较大的塑性变形,转速过慢又会降低生产效率。在生产中需要根据实际情况来确定合适的滚压速度。
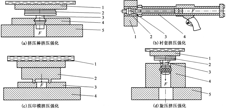
(3)孔挤压强化
孔挤压强化是利用特定的工模具(棒、衬套、开合模具等)对工件的孔壁或周边进行连续、缓慢、均匀的挤压,使其形成一定厚度的塑性变形层,达到提高表面疲劳强度和抗应力腐蚀能力的一种表面强化工艺。
常采用的工艺方法:棒挤压、衬套挤压、压印模挤压、旋压挤压,如图6所示。

(a)1-液压机;2-夹头;3-挤压棒;4-零件;5-底座
(b)1-零件;2-衬套;3-挤压棒;4-拉拔枪
(c)1-液压机;2-压印模;3-零件;4-底座
(d)1-孔臂钻;2-夹头;3-挤压头;4-零件;5-底座
图6 孔挤压强化的工艺方法
孔挤压强化主要针对内孔有抗疲劳要求或其他方法无法实现的工件,如飞机上的重要零件;压印模挤压适用于大型零件及蒙皮等关键承载件的强化;旋压挤压适用于起落架等大型零件的内孔强化等。
02 等离子体扩渗技术
等离子体是由大量的自由电子和离子组成且在整体上表现为近似电中性的电离气体。等离子化学热处理技术,又称等离子体扩渗技术(PDT)或粒子轰击扩渗技术,是利用低真空环境中气体辉光放电产生的离子轰击工件表面,使金属表面成分、组织结构及性能发生变化的工艺过程。
与普通气体热扩渗技术相比,离子热扩渗具有如下特点:
(1)离子轰击溅射将会去除工件表面的氧(钝)化膜或杂质,提高工件表面活性,使其易于吸附被渗元素,加快热扩渗速度;
(2)等离子体可激活反应气体,降低化学反应温度;
(3)可通过调节工艺参数控制热扩渗层的组织以及渗层的厚度;
(4)对环境无污染,是一种环境友好型的处理工艺。
等离子体可分为高温等离子体和低温等离子体。极光、日光灯、电弧、碘钨灯等属于低温等离子体,聚变、太阳核心等属于高温等离子体。
低温等离子体(也称非平衡等离子体)中的重粒子温度接近常温,而电子温度高达10?~10?K。
使气体由绝缘体变成导体的现象称为气体放电。气体放电的条件是:有一定的电场强度;气体中存在带电粒子。
在电场中,带电粒子发生定向运动。带电粒子与气体原子、带电粒子与电极之间发生一系列的物化变化,即带电粒子之间发生碰撞引起气体激发和电离;碰撞使原子中的电子从正常能级跃迁到较高能级,变成亚稳态的受激原子;受激电子返回基态时,将能量以光子的形式释放出来(辉光),若带电粒子撞击的能量较大,可能会将原子中的某个电子撞离原子(电离)。
1 离子渗氮的机理
(1)Kolbel离子溅射渗氮模型
高能氮离子轰击阴极使Fe原子溅射出阴极表面,Fe原子与N原子结合形成FeN,并重新沉积在工件表面(背散射),处于亚稳态的FeN按FeN→Fe?-?N→Fe?N的顺序依次分解,分解出的活性N原子渗入钢的表面或近表面,同时钢表面从外到内形成由Fe?-?N(ε相)和Fe?N(γ‘相)的渗氮层。如图7所示。

图7 Kolbel离子溅射渗氮模型
(2)新的离子渗氮模型
新的直流离子渗氮模型如图8所示,离子渗氮装置如图9所示。

图8 新的直流离子渗氮模型
1-直流电源;2-真空室;3-工件;4-温控仪;
5-真空计;6-真空泵;7-流量计;8-供气系统

图9 离子渗氮装置示意图
2 离子渗氮工艺过程
(1)将清洗好的工件放入离子渗氮炉内,抽真空至1Pa左右;
(2)通入少量含氮气体,接通直流高压电源,使气体产生辉光并放电;
(3)溅射、净化被处理工件表面;
(4调整气压和电压,将工件加热到所需要的处理温度,开始渗氮;
(5)保温一定时间,达到渗氮层要求的厚度;
(6)断电、工件在真空中冷至200℃以下,出炉渗氮后的工件表面呈银灰色。
3 离子渗氮的组织类型及影响因素
在小于590℃(共析温度)的温度环境下进行渗氮,随着氮势的增加,渗氮层的组织自外向内依次为:ε→ε+γ’→γ‘+扩散层→α扩散层,如图10所示。

图10 38CrMoAl钢渗氮后表面组织形貌(560℃×5h)
影响离子渗氮层的主要因素如下:
(1)渗氮温度:随温度升高,渗层厚度增加。当温度<550℃,γ’相比例随温度提高而增加;当温度>550℃后,ε相比例随温度提高而增加。
(2)渗氮时间:渗氮初期(<30min)渗速远大于气体渗氮速度,随时间延长,渗速减慢,逐渐接近气体渗氮速度。
(3)渗氮气体:常用的有氨、氮气+氢气等。
(4)渗氮气压、电压和电流密度:气压越大,渗氮层越厚;放电功率越大,渗氮层越厚;电流密度越大,渗氮层越厚。
4 离子渗氮层的性能
评价离子渗氮层的性能的指标主要包括以下几个方面:
(1)硬度:渗氮层的硬度取决于渗氮温度、钢中合金元素种类和钢种。
(2)疲劳强度:渗氮可以提高工件的疲劳强度,并随扩散层厚度的增加而提高。
(3)韧性:渗氮层中,仅有扩散层的部分韧性最好,有单相化合物层(ε相或γ‘相)的次之,γ'+ε相混合相的最差。
(4)耐磨性:与其他渗氮方法相比,离子渗氮对滚动摩擦的耐磨性最好。
常用钢种的离子渗氮工艺见表1。
表1 常用钢种的离子渗氮工艺

03 激光表面处理技术
激光表面处理技术是指利用激光束特有的性能特点,对材料表面进行处理并形成一定厚度的处理层,可以显著改善材料表面的力学性能、冶金性能、物理性能,从而提高零件、工件的耐磨、耐蚀、耐疲劳等性能,是一种高效且成熟的表面处理技术。
1 特点
(1)激光束处理后,材料表面的化学均匀性很高,晶粒细小,因而表面硬度高,耐磨性好,在不损失韧性的情况下获得了高的表面性能。
(2)输入热量少,热变形小。
(3)能量密度高,加工时间短。
(4)处理部位可以任意选择,如深孔、沟槽等特殊部位均可采用激光进行处理。
(5)工艺过程无需真空,无化学污染。
(6)激光处理过程中,表层发生马氏体转变而存在残余压应力,提高了其疲劳强度。
2 激光表面处理设备
激光表面处理设备包括:激光器、功率计、导光聚焦系统、工作台、数控系统和软件编程系统。
3 激光表面处理技术的原理及特点
激光是一种相位一致、波长一定、方向性极强的电磁波,激光束是由一系列反射镜和透镜来控制,所以激光束可以聚焦成直径很小的光束(直径只有0.1mm),从而可以获得极高的功率密度(10?~10?W/cm?)。按激光强度和辐射时间可将激光与金属之间的互相作用分吸收光束、能量传递、金属组织的改变和激光作用的冷却等阶段。
激光表面处理技术是采用大功率密度的激光束,以非接触性的方式加热材料表面,依靠材料表面自身的导热性达到冷却的目的,从而实现其表面强化的工艺方法。它在材料加工中的如下优点:
(1)能量传递方便,可以对被处理工件表面进行有选择性的局部强化;
(2)能量作用集中,加工时间短,热影响区小,激光处理后,工件变形小;
(3)能够处理表面形状复杂的工件,且容易实现自动化;
(4)改性效果比普通方法更显著,速度快,效率高,成本低;
(5)通常只能处理一些薄板金属,不适宜处理较厚的板材。
4 激光表面处理后的组织类型
由于激光加热速率极快,相变过程是在很大的过热度下进行的,所以晶核的形核率很大。因加热时间短,碳原子的扩散及晶粒的长大均受到限制,所以得到的奥氏体晶粒较小。冷却速率也比使用任何淬火剂都快,因而易得到隐针或细针马氏体组织。通过对组织类型的观察,可将激光束处理后的钢表面进行区分,低碳钢可分为两层:外层是完全淬火区,组织是隐针马氏体;内层是不完全淬火区,保留有铁素体。中碳钢可分为四层:外层是白亮的隐针马氏体,硬度达800HV,比一般淬火硬度高出100以上;第二层是隐针马氏体加少量屈氏体,硬度稍低;第三层是隐针马氏体加网状屈氏体,再加少量铁素体;第四层是隐针马氏体和完整的铁素体网。高碳钢也可分为两层:外层是隐针马氏体;内层是隐针马氏体加未溶碳化物。铸铁大致可分为三层:表层是熔化一凝固所得的树枝状结晶,此区随扫描速度的增大而减小;第二层是隐针马氏体加少量残留的石墨及磷共晶组织;第三层是较低温度下形成的马氏体。
5 激光表面处理技术的分类
(1)激光相变硬化
激光相变硬化又称激光淬火,是指以高能密度的激光束照射工件表面,使得需要硬化的部位瞬间吸收大量光能,并将其立即转化为热能,从而使激光作用区的温度急剧上升,组织类型迅速转变为奥氏体,经快速冷却后,获得极细小马氏体和其他组织,其特点如下:
①材料表面可高速加热和高速自冷。加热速度可达10?~10?℃/s,冷却速度可10?℃/s,这就有利于提高扫描速度及生产效率。
②激光淬火处理后的工件表面硬度高,一般来说比常规淬火硬度高5%~20%,处理结束后可获得极细的硬化层组织。
③由于激光加热速度快,因而热影响区小,淬火应力及变形小。一般认为激光淬火处理几乎不产生变形,而且相变硬化可以使表面产生大于4000MPa的压应力,有助于提高零件的疲劳强度;但厚度小于5mm的零件其变形仍不可忽视。
④可以对形状复杂的零件以及不能用其他常规方法处理的零件进行局部硬化处理,如具有沟槽的零件。
⑤激光淬火工艺周期短,生产效率高,工艺过程易实现计算机控制,自动化程度高,可纳入生产流水线。
⑥激光淬火依靠自身的导热性,由表及里的传导自冷,无需冷却介质,对环境无
污染。
(2)激光表面熔敷激光表面熔敷是在激光束作用下将合金粉末或陶瓷粉末与基体表面迅速加热并熔化,当光束移开后自冷却的一种表面强化方法。其特点如下:
①冷却速度快(高达10?℃/s),组织具有快速凝固的典型特征;
②热输入和畸变较小,涂层稀释率低(一般小于5%),与基体呈冶金结合;
③粉末选择几乎没有任何限制,特别是低熔点金属表面熔敷高熔点合金;
④能进行选区熔敷,材料消耗少,具有卓越的性能价格比;
⑤光束瞄准可以使难以接近的区域熔敷;
⑥工艺过程易于实现自动化。
(3)激光表面合金化
激光表面合金化是指在高能量激光束的照射下,使基体材料表面薄层与外加合金元素同时快速熔化、混合,形成厚度为10~1000μm的表面熔化层,熔化层在凝固时获得的冷却速度可达10?~10?℃/s,相当于急冷淬火技术所能达到的冷却速度,又由于熔化层液体内存在着扩散作用和表面张力效应等物理现象,可使材料表面在很短时间(50μs~2ms)内形成具有预定深度及化学成分的表面合金层。
激光表面合金化工艺的最大特点是仅在熔化区和很小的影响区内发生成分、组织和性能的变化,对基体的热效应可减少到最低限度,引起的变形也极小。该种工艺既可满足表面的使用需要,同时又不牺牲结构的整体特性。
熔化深度由激光功率和照射时间来控制。在基体金属表面可形成厚度为0.01~2mm的合金层。由于冷却速度高,使偏析最小,并显著细化晶粒。
(4)激光冲击硬化
当短脉冲(几十纳秒)、高峰值、高功率密度(>10W/cm?)的激光束辐射金属靶材时,金属表面吸收层吸收激光能量并发生爆炸性地汽化蒸发,产生高温(>10000K)、高压(>1GPa)的等离子体,该等离子体受到约束层的约束时,将产生高强度压力冲击波,并作用于金属表面,随后向金属内部传播。当冲击波的峰值压力超过被处理材料的动态屈服强度时,材料表层就产生应变硬化现象,其内部将残留很大的压应力。这种新型的表面强化技术就是激光冲击强化,由于其强化原理类似喷丸,因此也称作激光喷丸。
激光冲击强化具有应变影响层深,冲击区域和压力可控,对表面粗糙度影响小,易于自动化等特点。与喷丸强化相比,激光冲击处理获得的残余压应力层可达1mm,是喷丸强化的2~5倍。而挤压、撞击强化等强化技术只能对平面或规则回转面进行。另外,激光冲击强化能很好地保持强化位置的表面粗糙度和尺寸精度。
(5)激光表面非晶化
激光表面非晶化是利用激光熔池所具有的超高速冷却条件,使某些成分的合金表面形成具有特殊性能的非晶层。与其他非晶化方法比较,激光非晶化可以在工件表面大面积地形成非晶层,而且形成非晶的成分也可扩大。
04 电子束表面处理技术
利用高能电子束轰击材料表面,使其温度升高并发生成分、组织结构的变化,从而达到所需性能的工艺方法,称为电子束表面处理。它是以电场中高速移动的电子作为载能体,电子束的能量密度最高可达10?W/cm?。电子束表面处理的特点是:由于电子束具有更高的能量密度,所以加热的尺寸范围和深度更大;设备投资较低,操作较简单(无须像激光束处理那样在处理前进行“黑化”);因需真空条件,故零件的尺寸受到限制。
1 电子束表面处理技术的原理
电子束就是高能电子流,这些电子是由阴极灯丝产生。带负电荷的电子束高速飞向高电位正极的过程中,经过加速器加速,又通过电磁透镜聚焦,电子束的功率得到提高,再经二次聚焦,其能量密度高度集中,并以极高的速度冲向工件表面极小的面积上,电子束携带的动能大部分转化为热能,所以材料表面的被冲击部分在几分之一微秒内,温度将会升至几千摄氏度,使材料瞬间熔化甚至气化。
2 电子束表面处理技术的设备
电子束表面处理技术的设备由以下五个系统组成:
①电子枪系统发射高速电子流;
②真空系统保证系统所需的真空度;
③控制系统控制电子束的大小、形状、和方向;
④电流系统供给高低压稳压电流;
⑤传动系统控制工作台移动。
3 电子束表面处理技术的特点
①将工件置于真空室中加热,没有氧化、脱碳,表面相变强化无需冷却介质,依靠基体自身的冷却行为,可实现“绿色表面强化”。
②电子束的能量转换率约为80%~90%,能量集中,热效率高,可实现局部相变强化和表面合金化。
③由于热量集中,热作用点小,在加热时形成的热应力小,又由于硬化层浅,组织应力小,表面相变强化畸变小。
④电子束表面处理设备一次性投入比激光少(约为激光的1/3),电子束使用成本也只有激光的一半。
⑤设备结构简单,电子束靠磁偏转动、扫描,不需要工件转动、移动和光传输机构。
⑥电子束表面处理的适用范围宽,可适用于各种钢材、铸铁和其他材料的表面处理,而且也适用于形状复杂的零件。
⑦电子束易激发X射线,使用过程中应注意保护。
4 电子束表面处理技术的分类
电子束表面处理技术的分类如图11所示。

图11 电子束表面处理技术的分类
(1)电子束表面相变强化
对于有马氏体相变过程的金属,其工艺过程的关键是参数控制:电子束斑平均功率密度在10?~10?W/cm?,加热速度为10?~10?℃/s,冷却速度可达10?~10?℃/s。
电子束快速熔凝造成过饱和固溶强化,并形成超细马氏体,硬度增大,表面呈残余压应力,从而提高了材料的耐磨性。
(2)电子束表面重熔处理
电子束重熔可使合金的化学元素重新分布,降低某些元素的显微偏析程度,从而改善工件表面的性能。由于电子束重熔是在真空条件下进行的,有利于防止表面的氧化,因此电子束重熔处理特别适用于化学活性高的镁合金、铝合金等的表面处理。
(3)电子束表面合金化
一般选择W、Ti、B、Mo等元素及其碳化物作为合金元素提高材料耐磨性;选择Ni、Cr等元素可提高材料的抗腐蚀性能;而适当添加Co、Ni、Si等元素能改善合金化效果。
(4)电子束表面非晶化处理
将电子束的平均功率密度提高到10?~10?W/cm?,作用时间缩短至10-?s左右,使金属在基体与熔化的表层之间产生很大的温度梯度,在停止电子束照射后,金属表面快速冷却速率(10?~10?s-?)远远超过常规制取非晶的冷却速率(10?~10?s-?),所获非晶的组织形态致密,抗疲劳及抗腐蚀性能优良。
(5)电子束表面薄层退火
当电子束作为表面薄层退火的热源使用时,所需要的功率密度要较上述方法低很多,以此降低材料的冷却速度。对于金属材料,此法主要应用于薄带的表面处理。另外,电子束退火还成功地应用于半导体材料上。
5 电子束表面强化技术的应用
模具钢经电子束表面强化后,材料的最表层发生熔化,表面重熔层的厚度达到10μm左右,熔化造成其表层显微硬度降低;表面碳化物颗粒溶解,基体固溶铬和能量增加,造成过饱和固溶强化,并形成超细化马氏体,试样显微硬度从955.2HK提高到1169HK,相对耐磨性提高了5.63倍、轰击次数越多,影响区越深,显微硬度提高幅度越大。
05 电火花表面处理技术
电火花表面处理技术的基本原理是储能电源通过电极,以10-2000Hz的频率在电极与零部件之间产生火花放电,并将作为电极的导电材料熔渗到工件表面,形成合金化表面强化层,改善工件表面的物理及化学性能。
电火花表面强化层的性能主要取决于基体材料本身和电极材料,通常用的电极材料有TiC、WC、ZrC、NbC、Cr?C?、硬质合金等。
1 电火花表面处理技术过程
图12是电火花表面处理技术过程示意图。当电极与工件之间的距离较大时,电源经电阻R对电容充电,电极在振动器的带动下向工件靠近,如图12(a)所示;当电极与工件之间的间隙接近到某个距离时,间隙中的空气在强电场的作用下电离,产生火花放电,如图12(b)所示;当电极和工件在发生放电部分的金属局部熔化甚至汽化时,电极继续接近工件并与工件接触,这时火花放电停止,在接触点流过短路电流,使该处继续加热,由于电极以适当压力压向工件,使熔化的材料相互粘接、扩散而形成合金或者新的化合物,如图12(c)所示;电极在振荡器的作用下离开工件,如图12(d)所示。

图12 电火花表面强化过程示意图
(1)高温高压下的物理化学冶金过程。电火花放电所产生的高温使电极材料和工件表面的基体材料局部熔化,气体受热膨胀产生的压力以及稍后电极机械冲击力的作用,使电极材料与基体材料熔合并发生物理和化学的相互作用,电离气体元素如氮、氧等的作用,使基体表面产生特殊的合金。
(2)高温扩散过程。扩散过程既发生在熔化区内,也发生在液-固相界上。由于扩散时间非常短,液相元素向基体的扩散量有限的,扩散层很浅,但是基体与合金层也能达到较好的冶金结合。
(3)快速相变过程。由于热影响区的急剧升温和快速冷却,使工件基体熔化区附近部位经历了一次奥氏体化和马氏体化转变,细化了晶粒,提高了硬度,并产生了残余压应力,对提高疲劳强度有利。
2 电火花表面处理技术的特点
(1)优点
①设备简单,造价低;
②强化层与基体的结合非常牢固;
③工件内部不升温或者升温很低,无组织和性能变化,工件不会退火和变形;
④能耗低,材料消耗少;
⑤对处理对象无大小限制,尤其适合大工件局部处理;
⑥表面强化效果显著;
⑦可用来修复磨损超差的工件;
⑧操作简单,容易掌握。
(2)缺点
①表面强化层较浅,一般深度仅0.02~0.5mm;
②表面粗糙度不会很低;
③小孔、窄槽难处理,表层强化层均匀性连续性较差。
金属表面改性技术
01 电镀
1电镀的定义及原理
电镀是一种利用电化学性质,在镀件表面上沉积所需形态的金属覆层的表面处理工艺。
电镀原理:在含有欲镀金属的盐类溶液中,以被镀基体金属为阴极,通过电解作用,使镀液中欲镀金属的阳离子在基体金属表面沉积,形成镀层。如图13所示。

图13 电镀原理图
电镀的目的:获得不同于基体材料,且具有特殊性能的表面层,提高表面的耐腐蚀性及耐磨性。
镀层厚度一般为几微米到几十微米。
电镀的特点:电镀工艺设备较简单,操作条件易于控制,镀层材料广泛,成本较低,因而在工业中广泛应用,是材料表面处理的重要方法。
2 镀层的分类
镀层种类很多,按使用性能分类如下:
(1)防护性镀层:例如锌、锌-镍、镍、镉、锡等镀层,作为耐大气及各种腐蚀环境的防腐蚀镀层。
(2)防护-装饰性镀层:例如Cu-Ni-Cr镀层等,既有装饰性,亦有防护性。
(3)装饰性镀层:例如Au及Cu-Zn仿金镀层、黑铬、黑镍镀层等。
(4)耐磨和减磨镀层:例如硬铬镀层、松孔镀层、Ni-Sic镀层,Ni-石墨镀层、Ni-PTFE复合镀层等。
(5)电性能镀层:例如Au镀层、Ag镀层等,既有高的导电率,又可防氧化,可避免增加接触电阻。
(6)磁性能镀层:例如软磁性能镀层有Ni-Fe镀层、Fe-Co镀层;硬磁性能有Co-P镀层、Co-Ni镀层、Co-Ni-P镀层等。
(7)可焊性镀层:例如Sn-Pb镀层、Cu镀层、Sn镀层、Ag镀层等。可改善可焊性,在电子工业中应用广泛。
(8)耐热镀层:例如Ni-W镀层、Ni镀层、Cr镀层等,熔点高,耐高温。
(9)修复用镀层:一些造价较高的易磨损件,或加工超差件,采用电镀修复尺寸,可节约成本,延长使用寿命。例如可电镀Ni、Cr、Fe层进行修复。
若按镀层与基体金属之间的电化学性质可将其分为:阳极性镀层和阴极性镀层。当镀层相对于基体金属的电位为负时,镀层是阳极,称为阳极性镀层,如钢上的镀锌层;当镀层相对于基体金属的电位为正时,镀层呈阴极,称为阴极性镀层,如钢上的镀镍层、镀锡层等。
若按镀层的组合形式分,镀层可分为:单层镀层,如Zn或Cu层;多层金属镀层,例如Cu-Sn/Cr镀层、Cu/Ni/Cr镀层等;复合镀层,如Ni-Al?O?镀层、Co-SiC镀层等。
若按镀层成分分类,可分为单一金属镀层、合金镀层及复合镀层。
3 电镀溶液的基本组成
主盐沉积金属的盐类主要有:单盐,如硫酸铜、硫酸镍等;络盐,如锌酸钠、氰锌酸钠等。
配合剂与沉积金属离子形成配合物,其主要作用是改变镀液的电化学性质和控制金属离子沉积的电极过程,配合剂是镀液的重要成分,对镀层质量有很大影响。常用配合剂有氰化物、氢氧化物、焦磷酸盐、酒石酸盐、氨三乙酸、柠檬酸等。
导电盐其作用是提高镀液的导电能力,降低槽端电压提高工艺电流密度。例如镀镍液中加入Na?SO?。导电盐不参加电极反应,酸或碱类也可作为导电物质。
缓冲剂在弱酸或弱碱性镀液中,pH值是重要的工艺参量。加入缓冲剂,使镀液具有自行调节pH值能力,以便在施镀过程中保持pH值稳定。缓冲剂要有足够量才能有效控制酸碱平衡,一般加入30~40g/L,例如氯化钾镀锌溶液中的硼酸。
阳极活化剂在电镀过程中金属离子被不断消耗,多数镀液依靠可溶性阳极来补充,从而使金属的阴极析出量与阳极溶解量相等,保持镀液成分平衡。加入活性剂能维持阳极活性状态,不会发生钝化,保持正常溶解反应。例如镀镍液中必须加入Cl-,以防止镍阳极钝化。
特殊添加剂为改善镀液性能和提高镀层质量,常需加入某种特殊添加剂。其加入量较少,一般只有几克每升,但效果显著。这类添加剂种类繁多,按其作用可分为:
(1)光亮剂—可提高镀层的光亮度。
(2)晶粒细化剂—能改变镀层的结晶状况,细化晶粒,使镀层致密。例如锌酸盐镀锌液中,添加环氧氯丙烷与胺类的缩合物之类的添加剂,镀层就可从海绵状变为致密而光亮。
(3)整平剂—可改善镀液微观分散能力,使基体显微粗糙表面变平整。
(4)润湿剂—可以降低金属与溶液的界面张力,使镀层与基体更好地附着,减少针孔。
(5)应力消除剂—可降低镀层应力。
(6)镀层硬化剂—可提高镀层硬度。
(7)掩蔽剂—可消除微量杂质的影响。
4电镀过程的基本步骤
电镀过程的基本步骤包括:液相传质、电化学还原、电结晶。
5影响电镀质量的因素
(1)镀液:主盐溶度、配离子、附加盐;pH值;析氢;电流参数:电流密度、电流波形;添加剂;温度;搅拌;基体金属:性质、表面加工状态;前处理。
(2)电镀方式:挂镀。不能从水溶液中单独电镀的W、Mo、Ti、V等金属可与铁族元素(Fe,Co,Ni)共沉积形成合金;从而获得单一金属得不到的外观。
(3)沉积合金的条件:
①两种金属中至少有一种金属能从其盐的水溶液中沉积出来。
②共沉积的两种金属的沉积电位必须十分接近。
02 化学镀
化学镀是指在没有外电流通过的情况下,利用化学方法使溶液中的金属离子还原为金属,并沉积在基体表面,形成镀层的一种表面加工方法。
化学镀时,还原金属离子所需的电子是通过化学反应直接在溶液中产生。完成过程有以下三种方式。
1 置换沉积
利用被镀金属M?(如Fe)比沉积金属M?(如Cu)的电位更负,将沉积金属离子从溶液中置换在工件表面上,工程中称这种方式为浸镀。当金属M?完全被金属M?覆盖时,则沉积停止,所以镀层很薄。铁浸镀铜,铜浸汞,铝镀锌就是这种置换沉积。浸镀难以获得实用性镀层,常作为其他镀种的辅助工艺。
2 接触沉积
除了被镀金属M?和沉积金属M?外,还有第三种金属M?。在含有M?离子的溶液中,将M?-M?两金属连接,电子从电位高的M?流向电位低的M?,使M?还原沉积在M?上。当接触金属M?也完全被M?覆盖后,沉积停止。在没有自催化性的功能材料上进行化学镀镍时,常用接触沉积引发镍沉积起镀。
3 还原沉积
由还原剂被氧化而释放的自由电子,将金属离子还原为金属原子的过程称为还原沉积。
其反应方程式如下:
还原剂氧化
Rn+ → 2e- + R(n + 2)+
金属离子还原
M2+ + 2e- → M
工程上所讲的化学镀也主要是指这种还原沉积化学镀。
化学镀的条件是以下几个方面:
(1)镀液中还原剂的还原电位要显著低于沉积金属的电位,使金属有可能在基材上被还原而沉积出来。
(2)配好的镀液不产生自发分解,当与催化表面接触时,才发生金属沉积过程。
(3)调节溶液的pH值、温度时,可以控制金属的还原速率,从而调节镀覆速率。
(4)被还原析出的金属也具有催化活性,这样氧化还原沉积过程才能持续进行,镀层才能连续增厚。
(5)反应生成物不妨碍镀覆过程的正常进行,即溶液有足够的使用寿命。
化学镀镀覆的金属及合金种类较多,如Ni-P、Ni-B、Cu、Ag、Pd、Sn、In、Pt、Cr及多种Co基合金等,但应用最广的是化学镀镍和化学镀铜。化学镀层一般具有良好的耐蚀性、耐磨性、钎焊性及其他特殊的电学或磁学等性能,所以该种表面处理工艺能很好的完善材料的表面性能。
03 热喷涂技术、热喷焊技术
热喷涂技术、热喷焊技术都是利用热能(如氧-乙炔火焰、电弧、等离子火焰等)将具有特殊性能的涂层材料熔化后涂敷在工件上形成涂层的技术。具有可以制备比较厚的涂层(0.1~10mm)的特点,主要应用在制造复合层零件修复。
1热喷涂技术
(1)热喷涂技术原理与特点
采用各种热源使涂层材料加热熔化或半熔化,然后用高速气体使涂层材料分散细化并高速撞击到基体表面,从而形成涂层的工艺过程,如图14所示。

图14 热喷涂的基本过程示意图
热喷涂过程主要包括:喷涂材料的熔化;喷涂材料的雾化;喷涂材料的飞行;粒子的冲击、凝固。
(2) 涂层材料
热喷涂对涂层材料有一定的要求,需满足的条件:有较宽的液相区,在喷涂温度下不易分解或挥发;热稳定性好;使用性能好;润湿性好;固态流动性好(粉末);热膨胀系数合适。涂层材料按照喷涂材料的形状可分为线材和粉末。
(3) 热喷涂涂层的结合机理
①机械结合:熔融态的粒子撞击到基材表面后铺展成扁平状的液态薄层,嵌合在起伏不平的表面,并形成机械结合。
②冶金结合:涂层与基体表面出现扩散和焊合,称为冶金结合。
③物理结合:当高速运动的熔融粒子撞击基体表面后,若界面两侧的距离在原子晶格常数范围内时,粒子之间依靠范德华力结合在一起。
(4) 涂层的形成过程
①喷涂材料被加热到熔融状态;
②喷涂材料被雾化成微小熔滴并高速撞击基体表面,撞击基体的颗粒动能越大和冲击变形越大,形成的涂层结合越好;
③熔融的高速粒子在冲击基材表面后发生变形,冷凝后形成涂层。
涂层的形成过程如图15所示。

图15 涂层形成过程示意图
涂层结构是由大小不一的扁平颗粒、未熔化的球形颗粒、夹杂和孔隙组成。孔隙存在的原因:未熔化颗粒的低冲击动能;喷涂角度不同时造成的遮蔽效应;凝固收缩和应力释放效应。适当的孔隙可以储存润滑剂、提高涂层的隔热性能、减小内应力以及提高涂层的抗热震性等,但是过多的孔隙将会破坏涂层的耐腐蚀性能、增加涂层表面的粗糙度,从而降低涂层的结合强度、硬度、耐磨性,所以在涂层的制备过程中应严格控制孔隙的数量。
2热喷焊技术
(1)热喷焊技术的原理及特点
热喷焊技术是采用热源将涂层材料在基体表面重新熔化或部分熔化,并凝结于基体表面,形成与基体具有冶金结合的表面层的一种表面冶金强化方法,也称为熔结。相比于其他表面处理工艺,热喷焊所得的组织致密,冶金缺陷很少,与基体结合强度高,但是所用材料的选择范围窄,基材的变形比热喷涂大得多,热喷焊层的成分与原始成分有一定差别等局限性。
(2)热喷焊技术的分类热喷焊技术主要有火焰喷焊、等离子喷焊等。
①火焰喷焊:先在基体表面喷粉,再对涂层用火焰直接加热,使涂层在基体表面重新熔化,基体的表面完全润湿,界面有相互的元素扩散,形成牢固的冶金结合。
火焰喷焊特点:设备简单;工艺简单;涂层与基体的结合强度高;涂层的耐冲蚀磨损性能好。
②等离子喷焊:以等离子弧作为热源加热基体,使其表面形成熔池,同时将喷焊粉末材料送入等离子弧中,粉末在弧柱中得到预热,呈熔化或半熔化状态,被焰流喷射至熔池后,充分熔化并排出气体和熔渣,喷枪移开后合金熔池凝固,最终形成喷焊层。
等离子喷焊的特点:生产效率高;可喷焊难熔材料、稀释率低、工艺稳定性好、易实现自动化、喷焊层平整光滑、成分及组织均匀,涂层厚度更大且试验过程可精确控制。
(3)热喷焊技术与热喷涂技术的区别
①工件表面温度:喷涂时工件表面温度<250℃;喷焊要>900℃。
②结合状态:喷涂层以机械结合为主;喷焊层是冶金结合。
③粉末材料:喷焊用自熔性合金粉末,喷涂粉末不受限制。
④涂层结构:喷涂层有孔隙,喷焊层均匀致密无孔隙。
⑤承载能力:喷焊层可承受冲击载荷和较高的接触应力。
⑥稀释率:喷焊层的稀释率约5%~10%,喷涂层的稀释率几乎为零。
04化学转化膜技术
化学转化膜技术就是通过化学或电化学手段,使金属表面形成稳定的化合物膜层的工艺过程。
化学转化膜技术,主要用于工件的防腐和表面装饰,也可用于提高工件的耐磨性能等方面。它是利用某种金属与某种特定的腐蚀液相接触,在一定条件下两者发生化学反应,由于浓差极化作用和阴、阳极极化作用等,在金属表面上形成一层附着力良好的、难溶的腐蚀生成物膜层。这些膜层,能保护基体金属不受水和其他腐蚀介质的影响,也能提高对有机涂膜的附着性和耐老化性。在生产中,采用的转化膜技术主要有和磷化处理和氧化处理。
1磷化处理
磷化是将钢铁材料放入磷酸盐的溶液中,获得一层不溶于水的磷酸盐膜的工艺过程。
钢铁材料磷化处理工艺过程如下:化学除油→热水洗→冷水洗→磷化处理→冷水洗→磷化后处理→冷水洗→去离子水洗→干燥。
磷化膜由磷酸铁、磷化锰、磷酸锌等组成,呈灰白或灰黑色的结晶。膜与基体金属结合非常牢固,并具有较高的电阻率。与氧化膜相比,磷化膜有较高的抗腐蚀性,特别是在大气、油质和苯介质中均有很好耐腐蚀性,但在酸、碱、氨水、海水及水蒸气中的耐腐蚀性较差。
磷化处理的主要方法为浸渍法、喷淋法和浸喷组合法。根据溶液温度不同,磷化又分为室温磷化、中温磷化和高温磷化。
浸渍法适用于高温、中温和低温磷化工艺,可处理任何形状的工件,并可获得不同厚度的磷化膜,且设备简单,质量稳定。厚磷化膜主要用于工件的防腐处理和增强表面的减摩性。喷淋法适用于中温和低温磷化工艺,可以处理面积大的工件,如汽车壳体、电冰箱、洗衣机等大型工件作为油漆底层和冷变形加工等。这种方法处理时间短,成膜速度快,但只能获得较薄和中等厚度的磷化膜。
2 氧化处理
(1)钢铁的氧化处理
钢铁的氧化处理也称发蓝,是将钢铁工件放入某些氧化性溶液中,使其表面形成厚度约为0.5~1.5μm致密而牢固的Fe3O4薄膜的工艺方法。发蓝通常不影响零件的精密度,常用于工具、仪器的装饰防护。它能提高工件表面的抗腐蚀能力,有利于消除工件的残余应力,减少变形,还能使表面光泽美观。氧化处理以碱性法应用最多。
钢铁的氧化处理所用溶液成分和工艺条件,可根据工件材料和性能要求确定。常用溶液由为500g/L的氢氧化钠、200g/L的亚硝酸钠和余量水组成,在溶液温度为140℃左右时处理6~9min。
(2)铝及铝合金的氧化处理
①阳极氧化法
阳极氧化法是将工件置于电解液中,然后通电,得到硬度高、吸附力强的氧化膜的方法。常用的电解液有浓度为15%~20%的硫酸、3%~10%的铬酸、2%~10%的草酸。阳极氧化膜可用热水煮,使氧化膜变成含水氧化铝,因体积膨胀而封闭。也可用重铬酸钾溶液处理而封闭,以阻止腐蚀性溶液通过氧化膜结晶间隙腐蚀基体。
②化学氧化法
化学氧化法是将工件放入弱碱或弱酸的溶液中,获得与基体铝结合牢固的氧化膜的方法。主要用于提高工件的抗腐蚀性和耐磨性,也用于铝及铝合金的表面装饰,如建筑用的防锈铝,标牌的装饰膜等。
05 气相沉积技术
气相沉积技术是指将含有沉积元素的气相物质,通过物理或化学的方法沉积在材料表面形成薄膜的一种新型镀膜技术。根据沉积过程的原理不同,气相沉积技术可分为物理气相沉积(PVD)和化学气相沉积(CVD)两大类。
1 物理气相沉积
物理气相沉积(PVD)是指在真空条件下,用物理的方法,使材料汽化成原子、分子或电离成离子,并通过气相过程,在材料表面沉积一层薄膜的技术。物理沉积技术主要包括真空蒸镀、溅射镀和离子镀3种基本方法。
真空蒸镀是蒸发成膜材料使其汽化或升华沉积到工件表面形成薄膜的方法。根据蒸镀材料熔点的不同,其加热方式有电阻加热、电子束加热、激光加热等多种。真空蒸镀的特点是设备、工艺及操作简单,但因汽化粒子动能低,镀层与基体结合力较弱,镀层较疏松,因而耐冲击、耐磨损性能不高。
溅射镀是在真空下通过辉光放电来电离氩气,产生的氩离子在电场作用下加速轰击阴极,被溅射下来的粒子沉积到工件表面成膜的方法;其优点是气化粒子动能大、适用材料广泛(包括基体材料和镀膜材料)、均镀能力好,但沉积速度慢、设备昂贵。
离子镀是在真空下利用气体放电技术,将蒸发的原子部分电离成离子,与同时产生的大量高能中性粒子一起沉积到工件表面成膜的方法。其特点是镀层质量高、附着力强、均镀能力好、沉积速度快,但存在设备复杂、昂贵等缺点。
物理气相沉积具有适用的基体材料和膜层材料广泛;工艺简单、省材料、无污染;获得的膜层膜基附着力强、膜层厚度均匀、致密、针孔少等优点。已广泛应用于机械、航空航天、电子、光学和轻工业等领域制备耐磨、耐蚀、耐热、导电、绝缘、光学、磁性、压电、滑润超导等薄膜。
2 化学气相沉积
化学气相沉积(CVD)是指在一定温度下,混合气体与基体表面相互作用而在基体表面形成金属或化合物薄膜的方法。
化学气相沉积的特点是:沉积物种类多,可分为沉积金属、半导体元素、碳化物、氮化物、硼化物等;并能在较大范围内控制膜的组成及晶型;能均匀涂敷几何形状复杂的零件;沉积速度快,膜层致密,与基体结合牢固;易于实现大批量生产。
由于化学气相沉积膜层具有良好的耐磨性、耐蚀性、耐热性及电学、光学等特殊性能,已被广泛应用于机械制造、航空航天、交通运输、煤化工等工业领域。
免责声明:本网站所转载的文字、图片与视频资料版权归原创作者所有,如果涉及侵权,请第一时间联系本网删除。
官方微信
《中国腐蚀与防护网电子期刊》征订启事
- 投稿联系:编辑部
- 电话:010-62316606-806
- 邮箱:fsfhzy666@163.com
- 中国腐蚀与防护网官方QQ群:140808414



