锆的热中子吸收截面小,常用作制造轻水核反应堆的铀燃料包壳材料。锆合金在核反应堆中服役时容易发生水侧腐蚀,在锆合金表面形成一层氧化膜,这将影响锆合金的服役寿命。因此,锆合金的耐腐蚀性能是人们关注的重点。
研究表明,增大α-Zr中的Fe、Cr固溶度能够提高Zr-4合金在LiOH水溶液中的耐腐蚀性能。增大α-Zr中的Fe、Cr固溶度同样能够提高Zr-4合金的耐疖状腐蚀性能。
本文将对过饱和固溶度不同的Zr-4合金板材在LiOH水溶液和500℃过热蒸汽中的腐蚀规律展开研究。
试样
将厚度为2mm的Zr-4板材切割成若干尺寸为15mm×25mm的试样,并分成1号、2号、3号、4号等4组试样,分别真空封装在石英玻璃管中。所有试样均进行β淬火处量,即试样在1030℃保温20min后迅速放入水中进行冷却。
其中:1号试样经过β淬火后,再连续进行800℃/20min和600℃/50h两次热处理;2号试样经过β淬火后不再进行热处理;3号试样经过β淬火后,再进行800℃,保温20min;4号试样经过β淬火后,在进行600℃,保温50h热处理一次。
完成全部热处理后,敲碎石英管取出试样,试样经混合酸(HNO3+HF+H2O)酸洗,自来水和去离子水清洗后,烘干待用。
试验方法
采用JEM-2010F透射电镜观察4种试样的显微组织。采用静态高压釜考察试样在360℃/18.6MPa/0.01mol/L的LiOH水溶液和500℃/10.3MPa过热蒸汽中的腐蚀行为,试验一段时间取出试样,采用Leica DMD光学显微镜测量试样表面氧化膜的厚度。
结果与讨论

图1 4种试样的显微组织
由图1可知,四种试样均呈现板条组织状态,板条宽度大约是4~7μm。这是由于这四组试样均经过了β淬火。
1号和3号试样在β淬火后又经过800℃/20min高温热处理,一些经β淬火后出现的板条晶粒发生了再结晶,这些板条晶粒转变成了不规则形状的晶粒,在新的晶界上析出了第二相。
2号试样在β淬火后未进行其他热处理,呈现出典型的板条组织,在晶界处有一些第二相析出。尽管4号试样在经β淬火后经过了600℃/50h热处理,但是β淬火的板条组织依然完整存在,没有发生明显的再结晶,晶粒形貌和2号试样的一样。
1号和3号试样发生了一些再结晶,晶界增多,过饱和固溶在α-Zr中Fe、Cr析出,形成的第二相数量也相应增多,而2号和4号试样均未发生明显再结晶,析出的第二相数量比1号和3号试样少。因此,1号和3号试样过饱和固溶在α-Zr中的Fe、Cr比2号和4号试样的多。
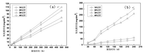
(a)500℃/10.3MPa蒸汽
(b)360℃/18.6MPa/0.01mol/L的LiOH水溶液

图2 4种试样在不同试验环境中腐蚀后氧化膜厚度随时间的变化曲线
在500℃/10.3MPa蒸汽中腐蚀500h后,四种试样均未发生疖状腐蚀,仅发生了均匀腐蚀。由图2(a)可见, 1号和3号试样在500℃蒸汽中的耐蚀性优于2号和4号试样的,这可能是由于1号和3号试样经过了800℃/20min高温热处理,降低了α-Zr中过饱和固溶的Fe、Cr含量。研究表明,Zr-4合金中的第二相析出量增多有利于提高其在400℃蒸汽中的耐腐蚀性。
由此可见,在抑制Zr-4合金不出现疖状腐蚀的情况下,降低α-Zr中过饱和固溶的Fe、Cr含量同样有利于改善Zr-4合金在500℃蒸汽中的耐均匀腐蚀性能,这与Zr-4合金在400℃蒸汽中的腐蚀规律相同。
由图2(b)可见,在0.01mol/L LiOH溶液中,2号和4号试样的耐腐蚀性能优于1号和3号试样的。与试样在500℃蒸汽中的情况相反,4种试样在360℃/18.6MPa/0.01mol/L LiOH溶液中的耐蚀性依次为:2号试样>4号试样>3号试样> 1号试样。由此可见,增加α-Zr中过饱和固溶的Fe、Cr含量有利于改善Zr-4合金在LiOH水溶液中的耐均匀腐蚀性能。
结论
在Zr-4合金未发生疖状腐蚀的情况下,降低α-Zr中过饱和固溶的Fe、Cr含量有利于改善Zr-4合金在500℃蒸汽中的耐均匀腐蚀性能。
提高α-Zr中过饱和固溶的Fe、Cr含量有利于改善Zr-4合金在LiOH水溶液中的耐蚀性。
更多关于材料方面、材料腐蚀控制、材料科普等方面的国内外最新动态,我们网站会不断更新。希望大家一直关注中国腐蚀与防护网http://www.ecorr.org
责任编辑:王元
《中国腐蚀与防护网电子期刊》征订启事
投稿联系:编辑部
电话:010-62313558-806
邮箱:fsfhzy666@163.com
中国腐蚀与防护网官方 QQ群:140808414
免责声明:本网站所转载的文字、图片与视频资料版权归原创作者所有,如果涉及侵权,请第一时间联系本网删除。
官方微信
《中国腐蚀与防护网电子期刊》征订启事
- 投稿联系:编辑部
- 电话:010-62313558-806
- 邮箱:fsfhzy666@163.com
- 中国腐蚀与防护网官方QQ群:140808414



