数据来源与分析方法
本文数据来源于行业公开项目招投标平台公开数据及部分企业月报,数据分析包括项目数量和项目产值的排名,使用标准化方式对不同规模企业进行对比。为了数据的准确性,本文仅选取了样本量较大、数据完整的项目和企业。(注:项目数量、金额基于公开数据分析生成,受限于数据样本及模型的响应,结果可能无法完全反映企业的实际情况。)
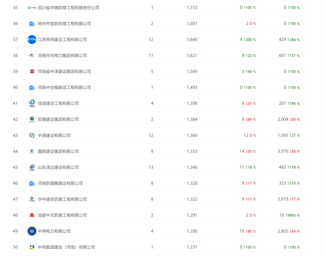
项目数量 50 强榜单(2025年6月份数据)
免责声明:本网站所转载的文字、图片与视频资料版权归原创作者所有,如果涉及侵权,请第一时间联系本网删除。
相关文章
无相关信息
官方微信
《腐蚀与防护网电子期刊》征订启事
- 投稿联系:编辑部
- 电话:010-62316606
- 邮箱:fsfhzy666@163.com
- 腐蚀与防护网官方QQ群:140808414
点击排行
PPT新闻
“海洋金属”——钛合金在舰船的
点击数:10663
腐蚀与“海上丝绸之路”
点击数:8207








