水下焊接牺牲阳极
1.安装方式
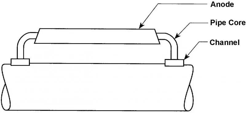
通过水下焊接将牺牲阳极固定在导管架上(图1)。

图1 水下焊接式牺牲阳极
2.优缺点
水下焊接固定牺牲阳极可以提供良好的结合强度和优异的电连接性能,但是水下焊接电弧会使其周围水产生热分解,导致氢溶解到焊缝中,如果焊缝中含氢量超过允许值,很容易引起裂纹,甚至导致结构的破坏。
3.应用范围
由于水下焊接价格较高以及焊接质量要求高等原因,只有在导管架直径过大时才使用水下焊接固定安装牺牲阳极。
卡箍固定牺牲阳极
1.安装方式
将单个或多个阳极焊接在卡箍上,然后通过潜水员固定安装在导管架上(图2)。

图2 卡箍固定式牺牲阳极
2.优缺点
卡箍固定阳极不需要水下焊接,但是阳极较重,需要潜水员在水下耗费大量体力将阳极移动至导管架的指定位置。
3.应用范围
卡箍固定阳极适用安装于直径0.8m到1.8m的管状构件。
牺牲阳极串
1.安装方式
将牺牲阳极每隔一段距离铸造在一根钢丝绳上,制成牺牲阳极串。阳极串顶端固定在水上区域,并做好电连接,为保证安装的阳极串在海水中的稳定性,至少需要阳极串上的2支阳极埋在海泥中(图3)。

图3 牺牲阳极串
2.优缺点
安装阳极串的过程不需要水下作业,施工非常方便,安装费用低。
3.应用范围
牺牲阳极串的平均寿命为3~5年,适用于浅水平台的短期延寿。
牺牲阳极架
1.安装方式
将4支牺牲阳极固定在一个阳极架上,阳极架底部的混凝土负重可保证阳极架在海底的稳定性(图4)。采用吊车将阳极架吊装放置到海底,潜水员只需在海底将与牺牲阳极架连接的电缆夹具固定在导管架上,然后拧紧电连接的螺栓即可。

图4 牺牲阳极架
2.优点
这种安装方式不需要潜水员在海底耗费大量体力移动阳极,施工安全性大大提高、施工时间短、费用低,且不会增加导管架额外负重。
拉伸辅助阳极外加电流阴极保护
1.安装方式
拉伸阳极由多个阳极固定在一条机械支撑作用的绳索上,绳索的上端固定在平台上部,绳索的下端由负重固定在海底。
拉伸阳极有两种设计方法,一种是将抗拉伸阳极的机械支撑部分和供电部分完全分离(即支撑绳和电缆分离),这就确保作用于系统中的机械力都集中在起支撑作用的钢绳上,如意大利DE NORA公司的LIDA系统(图5)。
2.优缺点
这种设计的优点是安装灵活,易于检查修理;缺点是阳极系统易受风暴等外界因素破坏失效。

图5 拉伸辅助阳极外加电流阴极保护(LIDA系统)
另一种是将支撑部分和电缆芯设计成一体结构,电缆既起到供电作用,又起到支撑作用,如美国Galvotec公司的VTA系统(图6)。

图6 拉伸辅助阳极外加电流阴极保护(VTA系统)
远地式辅助阳极外加电流阴极保护
1.安装方式
采用该方法时,远地式辅助阳极安装在海底,距离导管架有一定距离,阴极保护电流会以均匀分布的方式分散到导管架表面上,如图7所示。

图7 远地式辅助阳极外加电流阴极保护
2.优点
该辅助阳极的电缆可安装在导管架预留的“J”型管内,避免了辅助阳极电缆被台风破坏失效。
在海底,阳极容易受重力作用被海泥掩埋,从而增加整个回路的电阻,同时阳极也可能因海底的海泥或碎石而遭到损伤。为此,将辅助阳极安装在浮体内,用足够的负重把浮体锚固在海底,以保证阳极浮在海底上方。
免责声明:本网站所转载的文字、图片与视频资料版权归原创作者所有,如果涉及侵权,请第一时间联系本网删除。
官方微信
《中国腐蚀与防护网电子期刊》征订启事
- 投稿联系:编辑部
- 电话:010-62313558-806
- 邮箱:fsfhzy666@163.com
- 中国腐蚀与防护网官方QQ群:140808414



